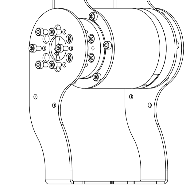
Step 5: J4-J5 Sub-Assembly
- Attach
J4_C
to the rotor ofJ4
motor using 6M3x6
bolts

- Mount the component
J4_D
onto theFL6803ZZ

tip
Align the J4_E
component vertically with the mechanical stop on J4_C
, ensuring proper orientation before fastening.

- Attach the component
J4_E
toJ4_C
using 6M3x6
bolts.

- Place the
J5
motor between theJ4_D
andJ4_E
and fasten them using 6M3x6
bolts. Ensure that the Power+CAN ports are facing front and rear for effective wiring. Keep the communication port facing towards the partJ4_E
.

- Carefully place two posts
AETTS8-74.2-SC0-M3-N3
between theJ4_D
andJ4_E
components, and fasten them usingM3x6
bolts

info
That concludes the J4-J5 Sub-Assembly
