Step 8: Final assembly
- Attach
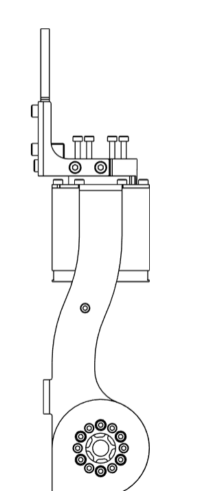
J2-J3 Sub-Assembly
to the rotor ofJ3
motor using 6M3x15
bolts

- Attach
J2_A
to the rotor ofJ2
motor using 6M5x10
bolts.

- Connect the
J8_A
component from theGripper Sub-Assembly
to the rotor ofJ7
motor using 6M3x15
bolts.

tip
When assembling the leader arms, attach the J8_A
component from the Leader End-Effector Sub-Assembly
.
- Finally, mount the arms on the pedestal using 4
M6x12
bolts inJ1_A
. Make sure you have already inserted T-slot nuts inside the aluminium extrusion. Align the top ofJ1_A
to the top of the aluminium extrusion.
tip
The Power+CAN ports of the J1
motor of both the arms face the front. The reinforcement in the pedestal is towards the back.
info
